Description
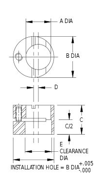
Eccentric Liners can be used with Spring Locating Pins to provide additional adjustment for workpieces with looser tolerances. Use with any of the three types. Available to fit all five sizes of Spring Locating Pins from 1/4″ to 5/8″ body diameter.


Recent Comments